Sembra fare sul serio Google e se fino a qualche mese fa pensavamo che uno smartwatch prodotto “in casa” fosse pura follia forse dobbiamo ricrederci. Oggi è stato depositato un nuovo brevetto ricco di informazioni, vediamole dopo il salto:
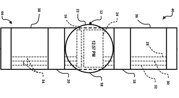
Secondo il brevetto rilasciato all’USPTO all’interno dello smartwatch troveremo connettivita wi-fi, display, cpu, funzionalità wi-fi avanzate (integrazione con Google Glass?) ed un doppio touchpad situato ai lati della cornice.
Insomma un concentrato di tecnologia allo stato puro!
Cosa ne pensate? Siete favorevoli a questi Smartwatch? Vi aspetto nei commenti!
Tecnophone.it Tecnologia & cellulari per tutti i gusti!


